兴化三水园论坛

查看: 5943|回复: 3

[街谈巷议] 江苏苏果超市有限公司兴化分公司因销售过期食品受罚

  [复制链接]
发表于 2024-12-22 10:46:33 | 显示全部楼层 |阅读模式 来自 中国江苏泰州
近日,江苏苏果超市有限公司兴化分公司因销售过期食品,被兴化市市场监督管理局依法查处。此次事件不仅对该分公司敲响了合规经营的警钟,也为其他食品销售企业提供了警示。
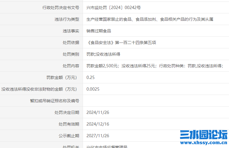
据行政处罚决定书文号 “兴市监处罚〔2024〕00242 号” 显示,江苏苏果超市有限公司兴化分公司作为行政相对人,其统一社会信用代码为 91321281MABQXW9T25,法定代表人是丁训建。经调查发现,该超市存在销售过期食品的违法事实,此行为违反了《食品安全法》第一百二十四条第五项相关规定。
兴化市市场监督管理局依据相关法律,对该公司作出了罚款 2500 元并没收违法所得 25 元的处罚决定。处罚类别包括罚款和没收违法所得,罚款金额为 0.25 万元,没收违法所得金额为 0.0025 万元。处罚决定日期为 2024 年 11 月 26 日,处罚有效期至 2024 年 12 月 16 日,公示截止期则为 2027 年 11 月 26 日。
食品安全关乎民众健康,销售过期食品严重损害消费者权益。食品销售企业应严格把控产品质量与保质期,加强内部管理,杜绝此类问题发生。相关监管部门也将持续加强监督执法力度,保障市场食品安全环境,维护消费者合法权益。

回复

使用道具 举报

 楼主| 发表于 2024-12-22 10:47:58 | 显示全部楼层 来自 中国江苏泰州
QQ浏览器截图20241222104742.png
回复

使用道具 举报

发表于 2024-12-22 11:26:25 来自手机 | 显示全部楼层 来自 中国江苏南京
大超市还犯原则性错误?作死!
回复

使用道具 举报

发表于 2024-12-22 12:35:13 | 显示全部楼层 来自 中国江苏泰州
苏果刚刚开始还是很不错的,感觉现在的经营已经举步维艰了。老思维没有创新,如果借鉴胖东来或者山姆不卖假货,把声誉打出去,或许会有出路。而且听说苏果超市所谓的小干部,还有官腔对员工不友好。
回复

使用道具 举报

您需要登录后才可以回帖 登录 | 立即注册

本版积分规则



QQ|客服|举报|Archiver|手机版|小黑屋|兴化三水园论坛 ( 苏ICP备20024052号 )

GMT+8, 2026-3-15 09:15 , Processed in 0.070061 second(s), 23 queries .

Copyright © 兴化市艺博网络科技服务有限公司 (https://www.xhssy.com.cn/) 版权所有 All Rights Reserved.

声明∶本论坛帖文观点仅代表作者本人,文责自负,兴化三水园论坛系信息发布平台,仅提供信息存储空间服务,如发现有侵权行为,请与我们联系。

网站常年法律顾问:汤荣华律师,手机:13852687313

快速回复 返回顶部 返回列表